بدأت شركة Samsung التفكير في استغلال الطاقة الشمسية لتشغيل ساعات جالكسي واتش الذكية الخاصة بها حيث كانت الشركة تخطط لتطبيق الخلايا الشمسية على حزام معصم ساعة سامسونج جالكسي واتش منذ عامين تقريبًا.
تفاصيل براءة اختراع ساعة سامسونج جالكسي واتش القادمة
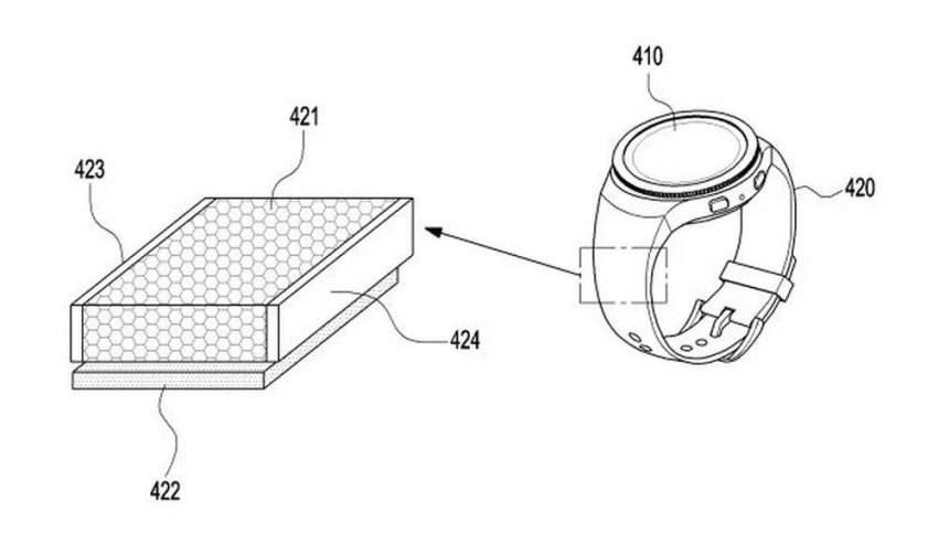
لقد تم تقديم براءة الاختراع إلى مكتب براءات الاختراع والعلامات التجارية بالولايات المتحدة (USPTO) في 16 سبتمبر 2019. تكمن الفكرة هنا في توفير طاقة إضافية من خلال الخلايا الشمسية، حتى لو لم تكن قوية بما يكفي لتحل محل منفذ الشحن العادي.
اقرأ أيضًا: مراجعة ساعة امازفيت Amazfit GTR2 منافسة لساعة سامسونج وابل؟
الفكرة رائعة من الناحية النظرية، حيث يمكن أن تجعل من أجهزة سامسونج القابلة للارتداء أكثر صداقة للبيئة وقادرة على توفير وسيلة للمستخدمين لإعادة شحنها حتى عندما يكونون بعيدًا عن الحائط أو شاحن لاسلكي.
لم يتم تأكيد خطط سامسونج للجيل القادم من الساعات الذكية، ومع ذلك من المفترض أن تكون خطط مستقبلية قد تنفّذها لاحقًا نظرًا لأن سلسلة Galaxy Watch 4 التي أصدرتها مؤخرًا جاءت مع عروات تقليدية ولا توجد طريقة واضحة لنقل التيار الكهربائي من السوار إلى الساعة نفسها.

اقرأ أيضًا: ساعة سامسونج جالكسي Samsung Galaxy Watch 3 سعر ومواصفات تستحق الانتظار
بغض النظر، تحاول سامسونج باستمرار تحسين سياساتها الصديقة للبيئة، وحققت الشركة مؤخرًا طاقة قابلة لإعادة الاستخدام بنسبة 100 ٪ في مصانعها في الولايات المتحدة الأمريكية وأوروبا والصين.
كذلك، اعتمدت الشركة الطاقة الشمسية في أحدث أجهزة التحكم عن بعد في التلفزيون الذكي QLED في وقت سابق من هذا العام. قد تكون هذا دليل على خطط قادمة، حيث يمكن أن ينتهي الأمر بمزيد من الأجهزة التي ستستخدم الخلايا الشمسية في المستقبل، ويبدو أن الأجهزة القابلة للارتداء ستكون جزء من هذه الأجهزة.
اقرأ أيضًا: ساعة سامسونج اكتيف 2 تحصل على تحديث بمميزات رائعة وحزام جديد بلون مميز
هل سبق أن استخدمت جهاز يعمل بتقنية الشحن بالخلايا الشمسية؟ أخبرنا عبر التعليقات.
source https://raqamitv.com/84362/%d8%b3%d8%a7%d8%b9%d8%a9-%d8%b3%d8%a7%d9%85%d8%b3%d9%88%d9%86%d8%ac-%d8%ac%d8%a7%d9%84%d9%83%d8%b3%d9%8a-%d9%88%d8%a7%d8%aa%d8%b4/
0 تعليقات